专利数据库
统计分析
产业报告
专利数据监控
产业人才
行业动态
产业政策法规
维权援助
个人中心
详情
文本
图像
标题
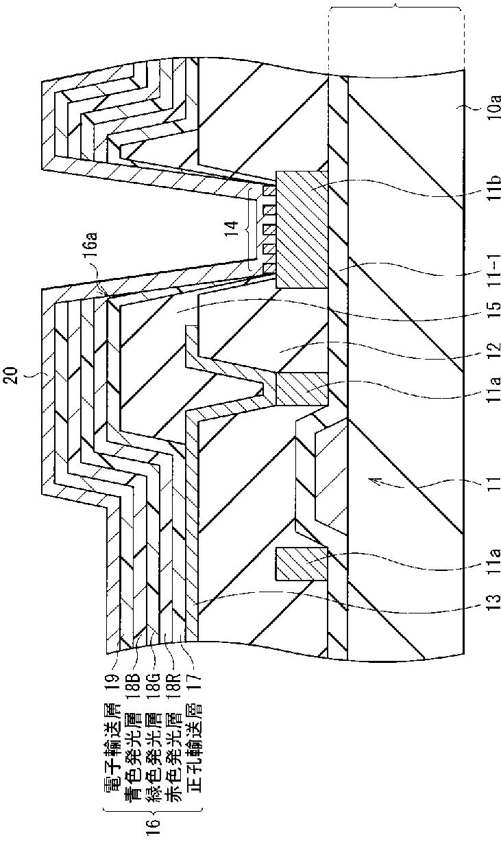
有機発光素子およびその製造方法ならびに表示装置
授权日
2013-05-02
公开(公告)号
JP5256863B2
申请日
2008-06-06
公开(公告)日
2013-08-07
当前申请(专利权)人
ソニー株式会社
发明人
花輪 幸治
简单同族
CN101599534A | JP2009295479A | JP5256863B2 | KR1020090127220A | TW201010500A | US20090302751A1 | US8362694
简单同族成员数量
7
简单同族被引用专利总数
59
诉讼案件数
0
法律状态/事件
未缴年费 | 权利转移
抱歉,您的浏览器不支持PDF预览,请点击链接下载PDF文件