专利数据库
统计分析
产业报告
专利数据监控
产业人才
行业动态
产业政策法规
维权援助
个人中心
详情
文本
图像
标题
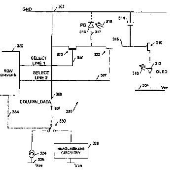
ディスプレイドライバ回路
授权日
1900-01-01
公开(公告)号
JP2005507512A
申请日
2002-10-23
公开(公告)日
2005-03-17
当前申请(专利权)人
ケンブリッジ ディスプレイ テクノロジー リミテッド
发明人
エーアン·クリストファー·スミス | ポール·リチャード·ロートレイ
简单同族
AU2002334226A1 | CN100470623C | CN101471034A | CN101471034B | CN1669067A | EP1444683A2 | EP1444683B1 | GB0126122D0 | GB2381644A | HK1069000A | HK1069000A1 | JP2005507512A | JP4068561B2 | KR100936789B1 | KR1020040058015A | US20050007353A1 | US7456812 | WO2003038798A2 | WO2003038798A3
简单同族成员数量
19
简单同族被引用专利总数
173
诉讼案件数
0
法律状态/事件
授权
抱歉,您的浏览器不支持PDF预览,请点击链接下载PDF文件