专利数据库
统计分析
产业报告
专利数据监控
产业人才
行业动态
产业政策法规
维权援助
个人中心
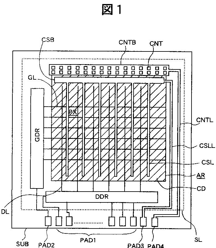
详情
文本
图像
标题
表示装置
授权日
1900-01-01
公开(公告)号
JP2012104497A
申请日
2011-12-21
公开(公告)日
2012-05-31
当前申请(专利权)人
株式会社ジャパンディスプレイイースト | パナソニック液晶ディスプレイ株式会社
发明人
佐藤 敏浩 | 金子 好之
简单同族
JP2012104497A | JP5209109B2
简单同族成员数量
2
简单同族被引用专利总数
0
诉讼案件数
0
法律状态/事件
授权 | 权利转移
抱歉,您的浏览器不支持PDF预览,请点击链接下载PDF文件