专利数据库
统计分析
产业报告
专利数据监控
产业人才
行业动态
产业政策法规
维权援助
个人中心
详情
文本
图像
标题
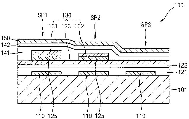
有機発光表示装置
授权日
1900-01-01
公开(公告)号
JP2011216470A
申请日
2011-02-17
公开(公告)日
2011-10-27
当前申请(专利权)人
三星ディスプレイ株式會社
发明人
朴 鎭佑 | 鄭 明鐘 | 姜 泰旻 | 徐 ▲ミン▼徹 | 表 相佑 | 金 範俊 | 金 孝▲ヨン▼
简单同族
CN102208433A | CN102208433B | EP2372770A2 | EP2372770A3 | JP2011216470A | JP5886528B2 | KR101137392B1 | KR1020110109559A | US20110240970A1 | US8581270
简单同族成员数量
10
简单同族被引用专利总数
66
诉讼案件数
0
法律状态/事件
授权 | 权利转移
抱歉,您的浏览器不支持PDF预览,请点击链接下载PDF文件