专利数据库
统计分析
产业报告
专利数据监控
产业人才
行业动态
产业政策法规
维权援助
个人中心
详情
文本
图像
标题
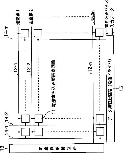
アクティブマトリクス型表示装置およびアクティブマトリクス型有機エレクトロルミネッセンス表示装置、並びにそれらの駆動方法
授权日
1900-01-01
公开(公告)号
JP2002351402A
申请日
2001-05-25
公开(公告)日
2002-12-06
当前申请(专利权)人
ソニー株式会社
发明人
湯本 昭
简单同族
CN100533531C | CN1388497A | CN1388497B | CN1801297A | JP2002351402A | JP3570394B2 | KR100872728B1 | KR1020020090330A | SG118137A1 | TWI307067B | US20020196211A1 | US7432889
简单同族成员数量
12
简单同族被引用专利总数
50
诉讼案件数
0
法律状态/事件
未缴年费
抱歉,您的浏览器不支持PDF预览,请点击链接下载PDF文件