专利数据库
统计分析
产业报告
专利数据监控
产业人才
行业动态
产业政策法规
维权援助
个人中心
详情
文本
图像
标题
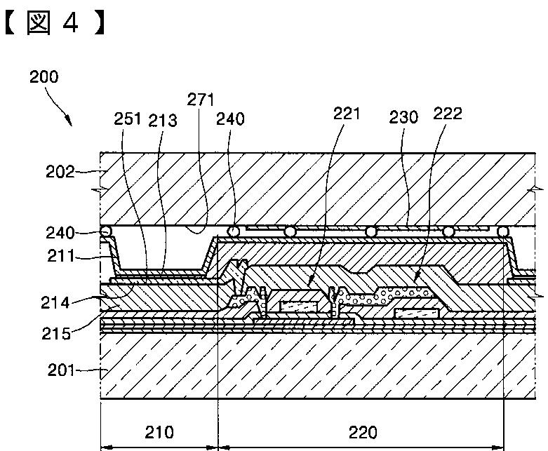
EL表示素子
授权日
2008-09-12
公开(公告)号
JP4185002B2
申请日
2004-03-11
公开(公告)日
2008-11-19
当前申请(专利权)人
三星エスディアイ株式会社
发明人
朴 鎭 宇 | 具 在 本 | 李 寛 熙
简单同族
CN100468817C | CN1543269A | JP2004281399A | JP4185002B2 | US20040185604A1 | US20060124949A1 | US20060124950A1 | US7026658 | US7214966 | US7214967
简单同族成员数量
10
简单同族被引用专利总数
94
诉讼案件数
0
法律状态/事件
未缴年费 | 权利转移
抱歉,您的浏览器不支持PDF预览,请点击链接下载PDF文件