专利数据库
统计分析
产业报告
专利数据监控
产业人才
行业动态
产业政策法规
维权援助
个人中心
详情
文本
图像
标题
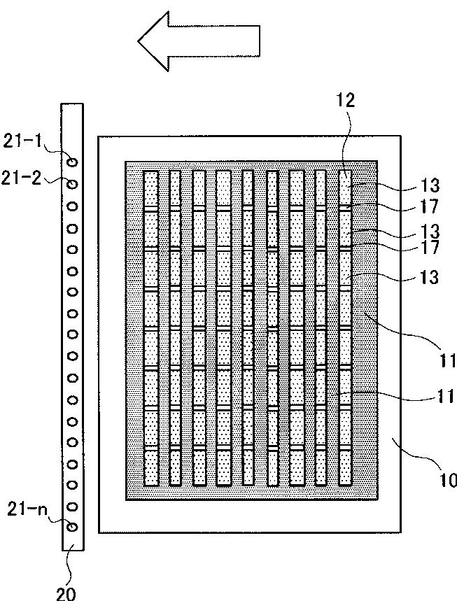
有機ELディスプレイおよびその製造方法
授权日
2010-10-08
公开(公告)号
JP4604131B2
申请日
2009-05-25
公开(公告)日
2010-12-22
当前申请(专利权)人
パナソニック株式会社
发明人
早田 博 | 鈴木 直樹 | 金田 善夫
简单同族
CN101766058A | CN101766058B | EP2296442A1 | EP2296442A4 | EP2296442B1 | JP4604131B2 | JPWO2009144912A1 | KR101037037B1 | KR1020100047283A | US20110042691A1 | US7932109 | WO2009144912A1
简单同族成员数量
12
简单同族被引用专利总数
53
诉讼案件数
0
法律状态/事件
授权
抱歉,您的浏览器不支持PDF预览,请点击链接下载PDF文件