专利数据库
统计分析
产业报告
专利数据监控
产业人才
行业动态
产业政策法规
维权援助
个人中心
详情
文本
图像
标题
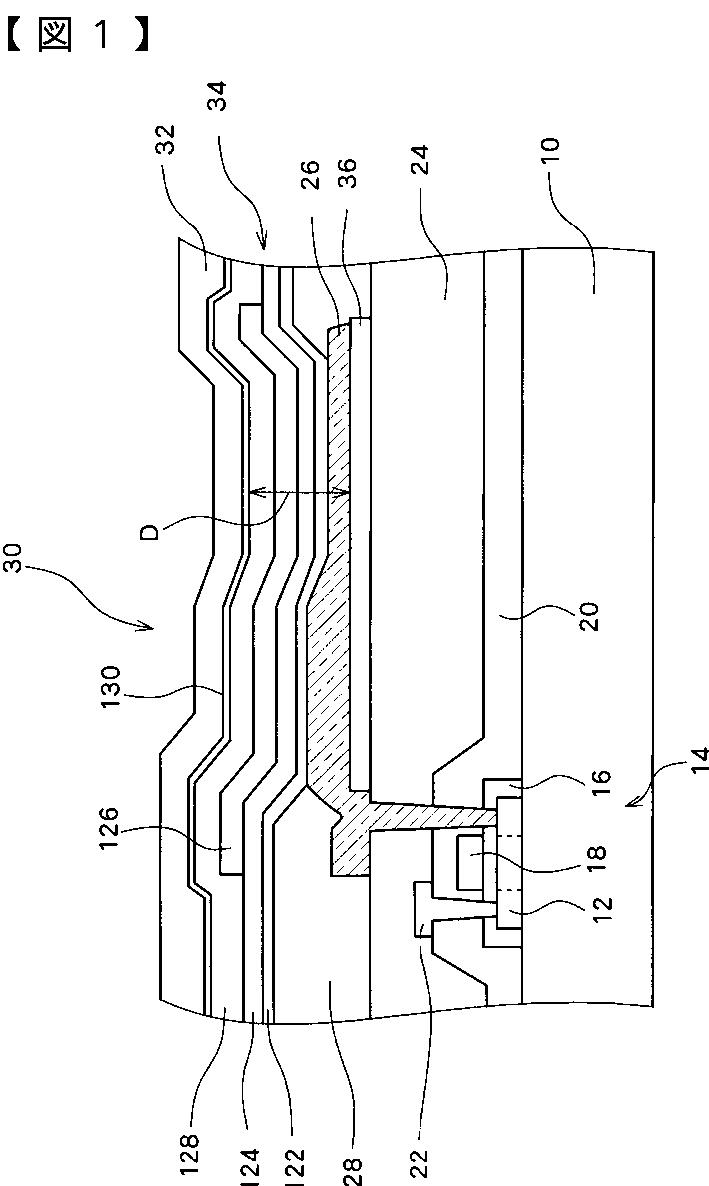
エレクトロルミネッセンスパネル
授权日
2011-04-28
公开(公告)号
JP4731211B2
申请日
2005-06-16
公开(公告)日
2011-07-20
当前申请(专利权)人
三洋電機株式会社
发明人
小村 哲司 | 西川 龍司
简单同族
JP2006032327A | JP4731211B2
简单同族成员数量
2
简单同族被引用专利总数
57
诉讼案件数
0
法律状态/事件
授权
抱歉,您的浏览器不支持PDF预览,请点击链接下载PDF文件