专利数据库
统计分析
产业报告
专利数据监控
产业人才
行业动态
产业政策法规
维权援助
个人中心
详情
文本
图像
标题
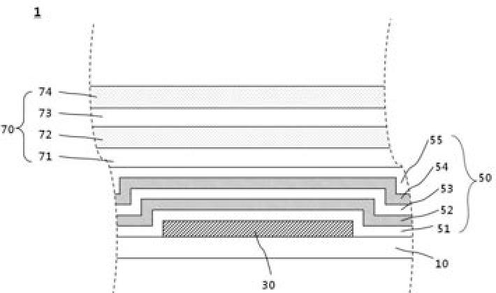
表示装置およびその製造方法
授权日
1900-01-01
公开(公告)号
JP2014086415A
申请日
2013-07-02
公开(公告)日
2014-05-12
当前申请(专利权)人
三星ディスプレイ株式會社
发明人
▲そう▼ 尚 煥 | 全 振 煥 | 金 秀 燕 | 朴 相 ▲げん▼ | 趙 尹 衡 | 宋 昇 勇
简单同族
CN103794734A | CN103794734B | JP2014086415A | JP6274764B2 | KR101951223B1 | KR1020140056498A | TW201421670A | TWI624048B | US20140117330A1 | US9048459
简单同族成员数量
10
简单同族被引用专利总数
54
诉讼案件数
0
法律状态/事件
授权
抱歉,您的浏览器不支持PDF预览,请点击链接下载PDF文件