专利数据库
统计分析
产业报告
专利数据监控
产业人才
行业动态
产业政策法规
维权援助
个人中心
详情
文本
图像
标题
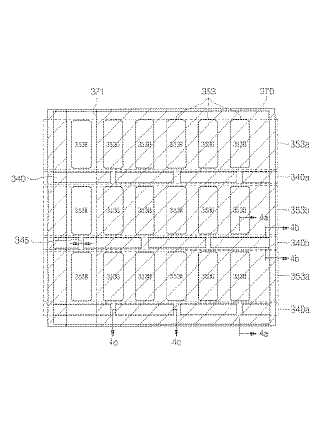
有機電界発光表示装置
授权日
1900-01-01
公开(公告)号
JP2009038007A
申请日
2008-06-03
公开(公告)日
2009-02-19
当前申请(专利权)人
三星モバイルディスプレイ株式會社
发明人
徐 美淑
简单同族
CN101359679A | CN101359679B | EP2020685A2 | EP2020685A3 | JP2009038007A | JP4555363B2 | KR100833775B1 | US20090033598A1 | US8049409
简单同族成员数量
9
简单同族被引用专利总数
58
诉讼案件数
0
法律状态/事件
授权 | 权利转移
抱歉,您的浏览器不支持PDF预览,请点击链接下载PDF文件