专利数据库
统计分析
产业报告
专利数据监控
产业人才
行业动态
产业政策法规
维权援助
个人中心
详情
文本
图像
标题
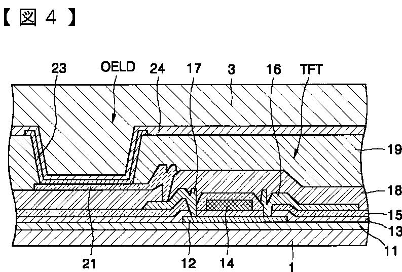
有機電界発光表示装置の製造方法
授权日
2009-10-16
公开(公告)号
JP4391301B2
申请日
2004-04-22
公开(公告)日
2009-12-24
当前申请(专利权)人
三星モバイルディスプレイ株式會社
发明人
朴 鎭 宇 | 權 章 赫 | 鄭 昊 均
简单同族
CN1617641A | CN1617641B | EP1531502A2 | EP1531502A3 | EP1531502B1 | JP2005150076A | JP4391301B2 | KR100563057B1 | KR1020050046922A | US20050104516A1 | US20070207696A1 | US7828618
简单同族成员数量
12
简单同族被引用专利总数
69
诉讼案件数
0
法律状态/事件
授权 | 权利转移
抱歉,您的浏览器不支持PDF预览,请点击链接下载PDF文件