专利数据库
统计分析
产业报告
专利数据监控
产业人才
行业动态
产业政策法规
维权援助
个人中心
详情
文本
图像
标题
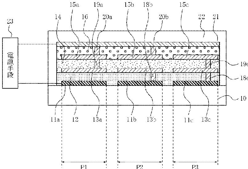
有機EL表示装置
授权日
2012-08-03
公开(公告)号
JP5053956B2
申请日
2008-07-31
公开(公告)日
2012-10-24
当前申请(专利权)人
キヤノン株式会社
发明人
永山 耕平 | 佐藤 信彦 | 井関 正己 | 川▲崎▼ 朋子 | 森山 孝志
简单同族
JP2010027584A | JP5053956B2 | US20110121753A1 | US8395316 | WO2009154288A1
简单同族成员数量
5
简单同族被引用专利总数
48
诉讼案件数
0
法律状态/事件
未缴年费
抱歉,您的浏览器不支持PDF预览,请点击链接下载PDF文件