专利数据库
统计分析
产业报告
专利数据监控
产业人才
行业动态
产业政策法规
维权援助
个人中心
详情
文本
图像
标题
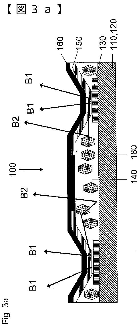
有機発光ダイオードに基づいたディスプレイおよびその製造方法
授权日
2012-07-13
公开(公告)号
JP5037344B2
申请日
2005-08-24
公开(公告)日
2012-09-26
当前申请(专利权)人
ノヴァレッド·アクチエンゲゼルシャフト
发明人
ホフマン,ミヒャエル | ビルンシュトック,ヤン | ヴェーゼ,マルティン
简单同族
DE102004041371A1 | DE102004041371B4 | JP2008511108A | JP5037344B2 | US20080164807A1 | WO2006021202A1
简单同族成员数量
6
简单同族被引用专利总数
80
诉讼案件数
0
法律状态/事件
授权
抱歉,您的浏览器不支持PDF预览,请点击链接下载PDF文件