专利数据库
统计分析
产业报告
专利数据监控
产业人才
行业动态
产业政策法规
维权援助
个人中心
详情
文本
图像
标题
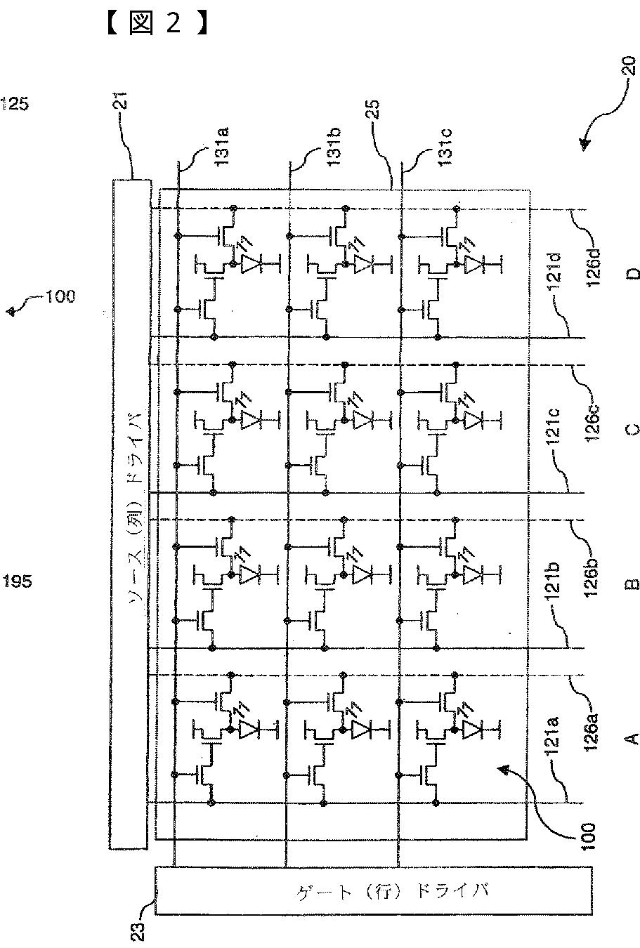
エレクトロルミネセントディスプレイのトランジスタ又はエレクトロルミネセントデバイスの特性の変化を補償する方法及びエレクトロルミネセントピクセル
授权日
2014-02-28
公开(公告)号
JP5485986B2
申请日
2009-05-22
公开(公告)日
2014-05-07
当前申请(专利权)人
グローバル·オーエルイーディー·テクノロジー·リミテッド·ライアビリティ·カンパニー
发明人
リーヴィー、チャールズ·エル | ウィンターズ、ダスティン | ヘイマー、ジョン·ダブリュー
简单同族
CN102047313A | CN102047313B | EP2294568A1 | JP2011523720A | JP2011523720A5 | JP5485986B2 | KR101245744B1 | KR1020110023867A | US20090295422A1 | US8217867 | WO2009145881A1
简单同族成员数量
11
简单同族被引用专利总数
59
诉讼案件数
0
法律状态/事件
授权
抱歉,您的浏览器不支持PDF预览,请点击链接下载PDF文件