专利数据库
统计分析
产业报告
专利数据监控
产业人才
行业动态
产业政策法规
维权援助
个人中心
详情
文本
图像
标题
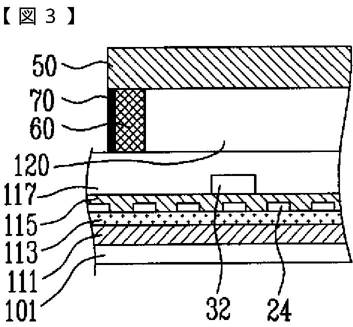
有機電界発光表示装置
授权日
2011-07-08
公开(公告)号
JP4777219B2
申请日
2006-11-15
公开(公告)日
2011-09-21
当前申请(专利权)人
三星モバイルディスプレイ株式會社
发明人
成 棟永 | 李 根洙
简单同族
CN101140945A | CN101140945B | EP1895592A1 | EP1895592B1 | JP2008066266A | JP4777219B2 | KR100722118B1 | US20080054796A1 | US20100062553A1 | US7595854 | US7901961
简单同族成员数量
11
简单同族被引用专利总数
61
诉讼案件数
0
法律状态/事件
授权 | 权利转移
抱歉,您的浏览器不支持PDF预览,请点击链接下载PDF文件