专利数据库
统计分析
产业报告
专利数据监控
产业人才
行业动态
产业政策法规
维权援助
个人中心
详情
文本
图像
标题
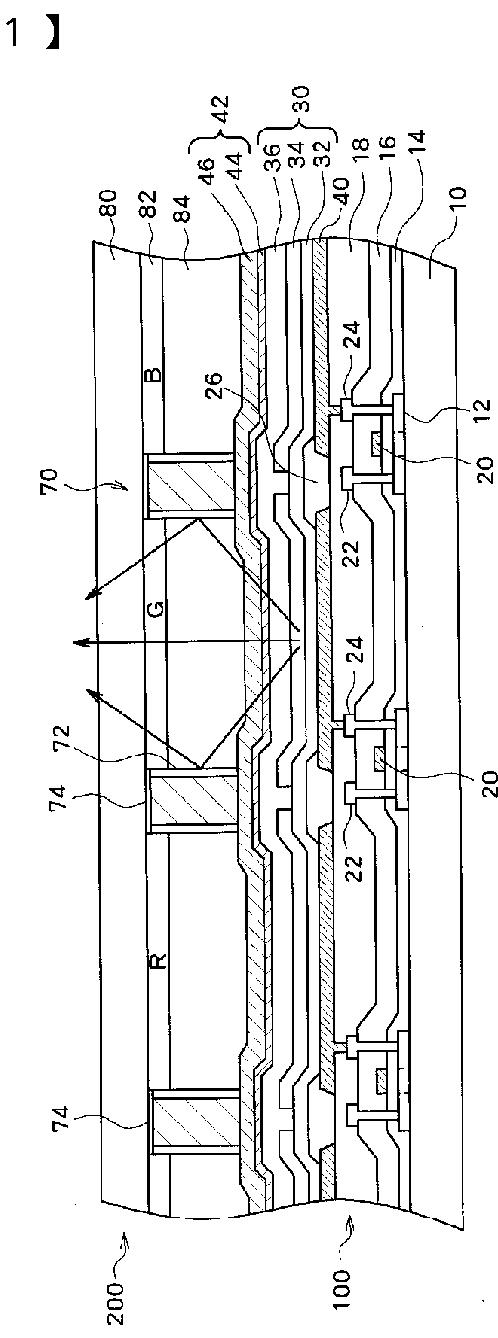
エレクトロルミネッセンス表示装置
授权日
2009-02-20
公开(公告)号
JP4262902B2
申请日
2001-03-30
公开(公告)日
2009-05-13
当前申请(专利权)人
三洋電機株式会社
发明人
山田 努 | 西川 龍司
简单同族
JP2002299044A | JP4262902B2
简单同族成员数量
2
简单同族被引用专利总数
68
诉讼案件数
0
法律状态/事件
授权
抱歉,您的浏览器不支持PDF预览,请点击链接下载PDF文件