专利数据库
统计分析
产业报告
专利数据监控
产业人才
行业动态
产业政策法规
维权援助
个人中心
详情
文本
图像
标题
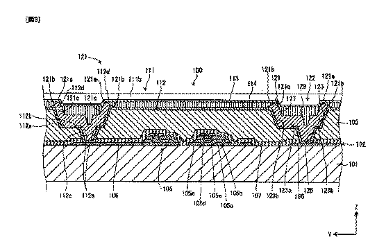
有機EL表示パネルおよびそれを備えた有機EL表示装置並びに有機EL表示パネルの製造方法
授权日
1900-01-01
公开(公告)号
JPWO2011132215A1
申请日
2010-04-19
公开(公告)日
2013-07-18
当前申请(专利权)人
パナソニック株式会社
发明人
小野 晋也 | 西山 誠司 | 吉田 英博
简单同族
CN102405686A | CN102405686B | EP2563097A1 | EP2563097A4 | EP2563097B1 | JP5519532B2 | JPWO2011132215A1 | KR101653844B1 | KR1020130044383A | US20120049175A1 | US8436348 | WO2011132215A1
简单同族成员数量
12
简单同族被引用专利总数
55
诉讼案件数
0
法律状态/事件
授权 | 权利转移
抱歉,您的浏览器不支持PDF预览,请点击链接下载PDF文件