专利数据库
统计分析
产业报告
专利数据监控
产业人才
行业动态
产业政策法规
维权援助
个人中心
详情
文本
图像
标题
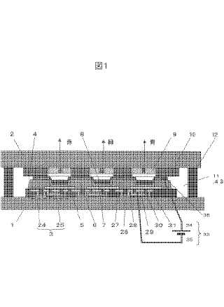
有機エレクトロルミネッセンス表示装置
授权日
1900-01-01
公开(公告)号
JP2005268062A
申请日
2004-03-19
公开(公告)日
2005-09-29
当前申请(专利权)人
株式会社 日立ディスプレイズ
发明人
松浦 宏育 | 石原 慎吾 | 鷹栖 慶治 | 松崎 永二
简单同族
JP2005268062A | JP4489472B2 | US20050212413A1 | US7365487
简单同族成员数量
4
简单同族被引用专利总数
145
诉讼案件数
0
法律状态/事件
授权 | 权利转移
抱歉,您的浏览器不支持PDF预览,请点击链接下载PDF文件