专利数据库
统计分析
产业报告
专利数据监控
产业人才
行业动态
产业政策法规
维权援助
个人中心
详情
文本
图像
标题
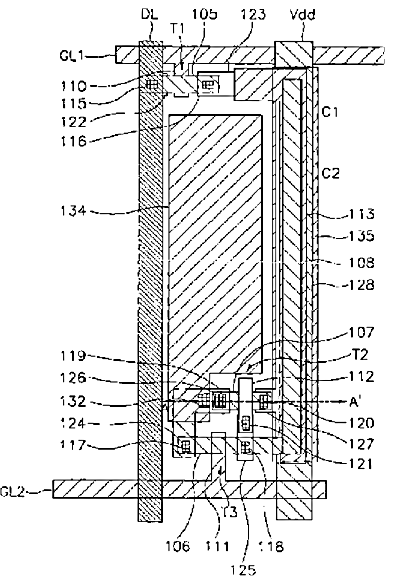
アクティブマトリックス型有機電界発光表示装置及びその製造方法
授权日
1900-01-01
公开(公告)号
JP2005518557A
申请日
2002-12-10
公开(公告)日
2005-06-23
当前申请(专利权)人
サムスン エレクトロニクス カンパニー リミテッド
发明人
崔 凡 洛 | チョイ·ジュン-フー | 蔡 鐘 哲
简单同族
AU2002367689A1 | AU2002367689A8 | CN100382132C | CN1636235A | DE10297655B4 | DE10297655T5 | JP2005518557A | JP3999205B2 | KR100892945B1 | KR1020030069668A | US20050104814A1 | US20090009094A1 | US7435992 | US7875889 | WO2003071511A2 | WO2003071511A3
简单同族成员数量
16
简单同族被引用专利总数
172
诉讼案件数
0
法律状态/事件
授权 | 权利转移
抱歉,您的浏览器不支持PDF预览,请点击链接下载PDF文件