专利数据库
统计分析
产业报告
专利数据监控
产业人才
行业动态
产业政策法规
维权援助
个人中心
详情
文本
图像
标题
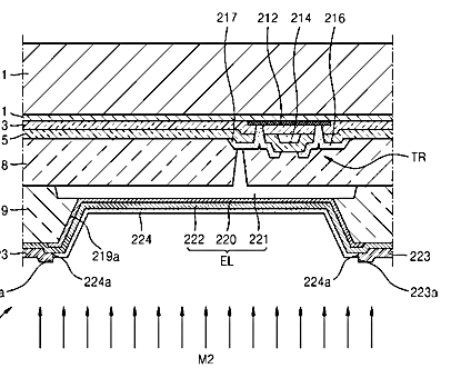
有機発光表示装置及びその製造方法
授权日
1900-01-01
公开(公告)号
JP2012253015A
申请日
2012-05-18
公开(公告)日
2012-12-20
当前申请(专利权)人
三星ディスプレイ株式會社
发明人
鄭 鎭 九 | 崔 俊 呼 | 金 星 民
简单同族
CN102856505A | CN102856505B | EP2530717A2 | EP2530717A3 | JP2012253015A | JP6084781B2 | KR101407587B1 | KR1020120134464A | TW201251003A | TWI565047B | US20120313099A1 | US8872206
简单同族成员数量
12
简单同族被引用专利总数
60
诉讼案件数
0
法律状态/事件
授权 | 权利转移
抱歉,您的浏览器不支持PDF预览,请点击链接下载PDF文件