专利数据库
统计分析
产业报告
专利数据监控
产业人才
行业动态
产业政策法规
维权援助
个人中心
详情
文本
图像
标题
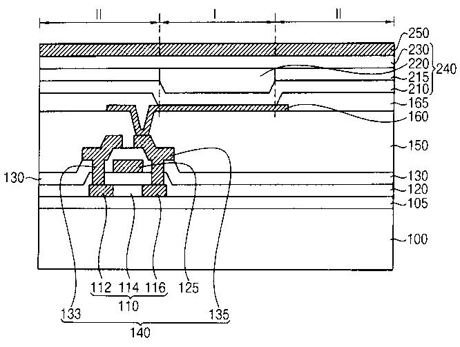
有機発光構造物、有機発光構造物の製造方法、有機発光表示装置、及び有機発光表示製造方法
授权日
1900-01-01
公开(公告)号
JP2013004517A
申请日
2012-03-23
公开(公告)日
2013-01-07
当前申请(专利权)人
三星ディスプレイ株式會社
发明人
辛 慧 媛 | 李 承 默 | 朴 商 勳 | 金 在 福 | 金 英 一 | 河 在 国
简单同族
CN102832353A | CN102832353B | EP2535956A1 | EP2535956B1 | JP2013004517A | JP5982146B2 | US20120319089A1 | US9349957
简单同族成员数量
8
简单同族被引用专利总数
49
诉讼案件数
0
法律状态/事件
授权 | 权利转移
抱歉,您的浏览器不支持PDF预览,请点击链接下载PDF文件