专利数据库
统计分析
产业报告
专利数据监控
产业人才
行业动态
产业政策法规
维权援助
个人中心
详情
文本
图像
标题
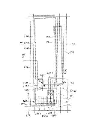
有機発光表示板及びその製造方法
授权日
1900-01-01
公开(公告)号
JP2005166662A
申请日
2004-11-29
公开(公告)日
2005-06-23
当前申请(专利权)人
三星電子株式会社
发明人
鄭 鎭 九 | 崔 ▲ジョン▼ 厚 | 崔 凡 洛
简单同族
CN100593251C | CN1645979A | JP2005166662A | JP4613054B2 | KR101026812B1 | KR1020050051833A | TW200529698A | TWI365678B | US20050127828A1 | US20080067930A1 | US7336031
简单同族成员数量
11
简单同族被引用专利总数
53
诉讼案件数
0
法律状态/事件
未缴年费 | 权利转移
抱歉,您的浏览器不支持PDF预览,请点击链接下载PDF文件