专利数据库
统计分析
产业报告
专利数据监控
产业人才
行业动态
产业政策法规
维权援助
个人中心
详情
文本
图像
标题
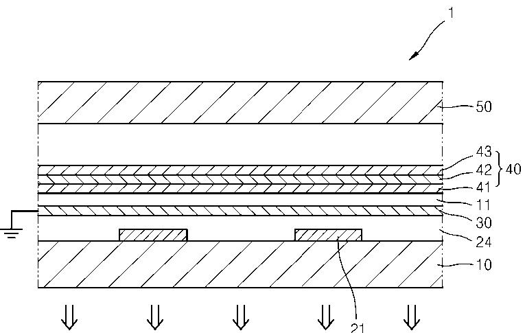
有機発光ディスプレイ装置
授权日
1900-01-01
公开(公告)号
JP2011054962A
申请日
2010-08-23
公开(公告)日
2011-03-17
当前申请(专利权)人
三星ディスプレイ株式會社
发明人
權 度 縣 | 任 忠 烈 | 李 一 正 | 金 永 大 | 尹 柱 元 | 余 鐘 模 | 劉 ▲てつ▼ 浩
简单同族
JP2011054962A | JP5792440B2 | KR1020110024531A | US20110050604A1 | US8970539
简单同族成员数量
5
简单同族被引用专利总数
72
诉讼案件数
0
法律状态/事件
授权 | 权利转移
抱歉,您的浏览器不支持PDF预览,请点击链接下载PDF文件