专利数据库
统计分析
产业报告
专利数据监控
产业人才
行业动态
产业政策法规
维权援助
个人中心
详情
文本
图像
标题
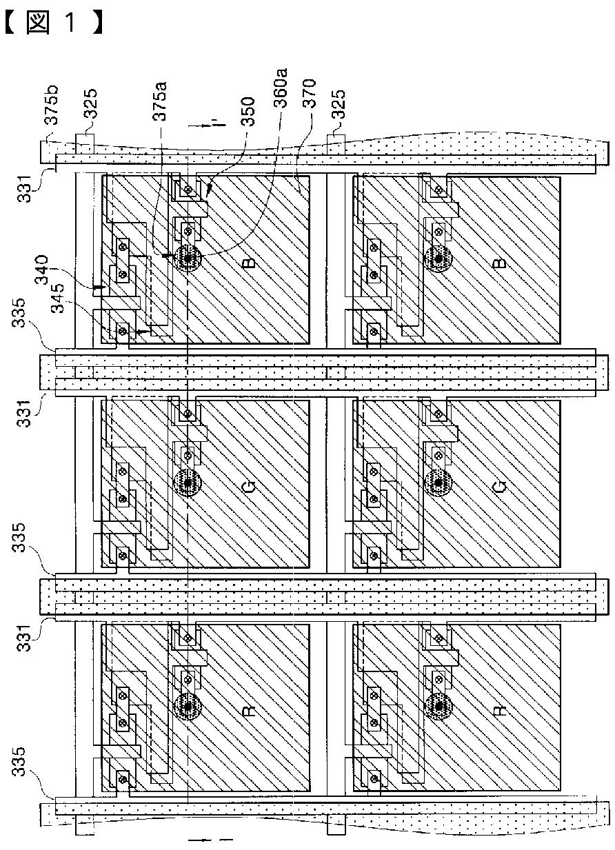
有機電界発光表示装置
授权日
2011-07-22
公开(公告)号
JP4786893B2
申请日
2004-10-19
公开(公告)日
2011-10-05
当前申请(专利权)人
三星モバイルディスプレイ株式會社
发明人
朴 峻 永 | 權 章 赫
简单同族
CN100481568C | CN1622709A | JP2005158708A | JP4786893B2 | KR100611147B1 | KR1020050050494A | US20050110028A1 | US7233020
简单同族成员数量
8
简单同族被引用专利总数
48
诉讼案件数
0
法律状态/事件
授权 | 权利转移
抱歉,您的浏览器不支持PDF预览,请点击链接下载PDF文件