专利数据库
统计分析
产业报告
专利数据监控
产业人才
行业动态
产业政策法规
维权援助
个人中心
详情
文本
图像
标题
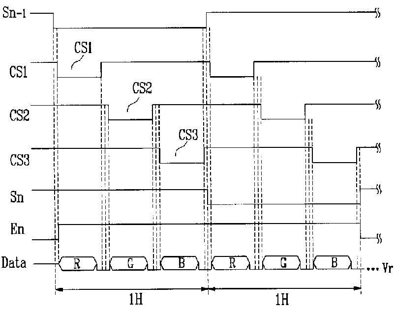
画素とこれを利用した有機電界発光表示装置及びその駆動方法
授权日
1900-01-01
公开(公告)号
JP2007286572A
申请日
2006-08-25
公开(公告)日
2007-11-01
当前申请(专利权)人
三星ディスプレイ株式會社
发明人
崔 相武
简单同族
CN100524424C | CN101059932A | EP1847982A2 | EP1847982A3 | EP1847982B1 | JP2007286572A | JP5382985B2 | KR100784014B1 | KR1020070102861A | US20070242016A1 | US9076382
简单同族成员数量
11
简单同族被引用专利总数
57
诉讼案件数
0
法律状态/事件
授权 | 权利转移
抱歉,您的浏览器不支持PDF预览,请点击链接下载PDF文件