专利数据库
统计分析
产业报告
专利数据监控
产业人才
行业动态
产业政策法规
维权援助
个人中心
详情
文本
图像
标题
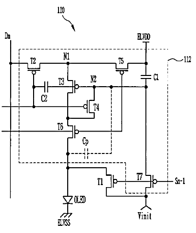
画素及びこれを用いた有機電界発光表示装置
授权日
1900-01-01
公开(公告)号
JP2010026488A
申请日
2009-01-07
公开(公告)日
2010-02-04
当前申请(专利权)人
三星モバイルディスプレイ株式會社
发明人
郭 源奎
简单同族
CN101630481A | EP2146337A1 | JP2010026488A | KR1020100009219A | US20100013816A1 | US8237634
简单同族成员数量
6
简单同族被引用专利总数
125
诉讼案件数
0
法律状态/事件
驳回
抱歉,您的浏览器不支持PDF预览,请点击链接下载PDF文件