专利数据库
统计分析
产业报告
专利数据监控
产业人才
行业动态
产业政策法规
维权援助
个人中心
详情
文本
图像
标题
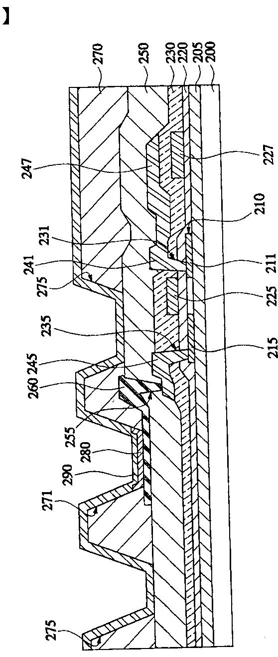
輝度が改善された有機電界発光ディスプレイ
授权日
2009-05-15
公开(公告)号
JP4307186B2
申请日
2003-09-01
公开(公告)日
2009-08-05
当前申请(专利权)人
三星モバイルディスプレイ株式會社
发明人
具 在本 | 朴 鎭宇
简单同族
CN100470824C | CN1510974A | JP2004207218A | JP4307186B2 | KR100521272B1 | KR1020040055223A | US20040119398A1 | US20080220683A1 | US7391151 | US7815479
简单同族成员数量
10
简单同族被引用专利总数
77
诉讼案件数
0
法律状态/事件
授权 | 权利转移
抱歉,您的浏览器不支持PDF预览,请点击链接下载PDF文件