专利数据库
统计分析
产业报告
专利数据监控
产业人才
行业动态
产业政策法规
维权援助
个人中心
详情
文本
图像
标题
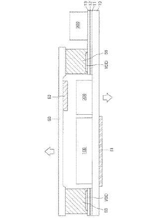
有機電界発光表示装置
授权日
1900-01-01
公开(公告)号
JP2005338769A
申请日
2005-02-28
公开(公告)日
2005-12-08
当前申请(专利权)人
三星エスディアイ株式会社
发明人
郭 源奎 | 李 寛煕 | 朴 星千
简单同族
CN1700830A | CN1700830B | JP2005338769A | JP4012908B2 | KR100581913B1 | KR1020050111488A | US20050258744A1 | US7586254
简单同族成员数量
8
简单同族被引用专利总数
83
诉讼案件数
0
法律状态/事件
授权 | 权利转移
抱歉,您的浏览器不支持PDF预览,请点击链接下载PDF文件