专利数据库
统计分析
产业报告
专利数据监控
产业人才
行业动态
产业政策法规
维权援助
个人中心
详情
文本
图像
标题
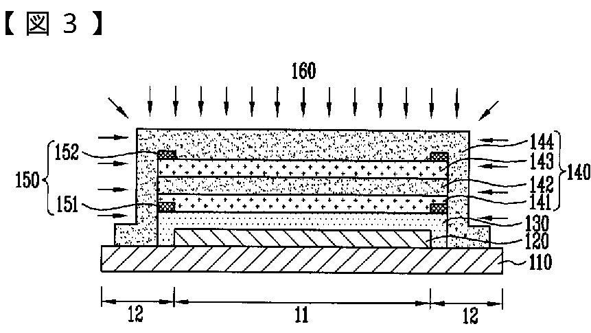
有機電界発光表示装置およびその製造方法
授权日
2012-05-11
公开(公告)号
JP4987648B2
申请日
2007-09-19
公开(公告)日
2012-07-25
当前申请(专利权)人
三星モバイルディスプレイ株式會社
发明人
金 孝眞 | 韓 東垣
简单同族
JP2008311205A | JP4987648B2 | KR100873704B1 | US20080309226A1 | US8674596
简单同族成员数量
5
简单同族被引用专利总数
82
诉讼案件数
0
法律状态/事件
授权 | 权利转移
抱歉,您的浏览器不支持PDF预览,请点击链接下载PDF文件