专利数据库
统计分析
产业报告
专利数据监控
产业人才
行业动态
产业政策法规
维权援助
个人中心
详情
文本
图像
标题
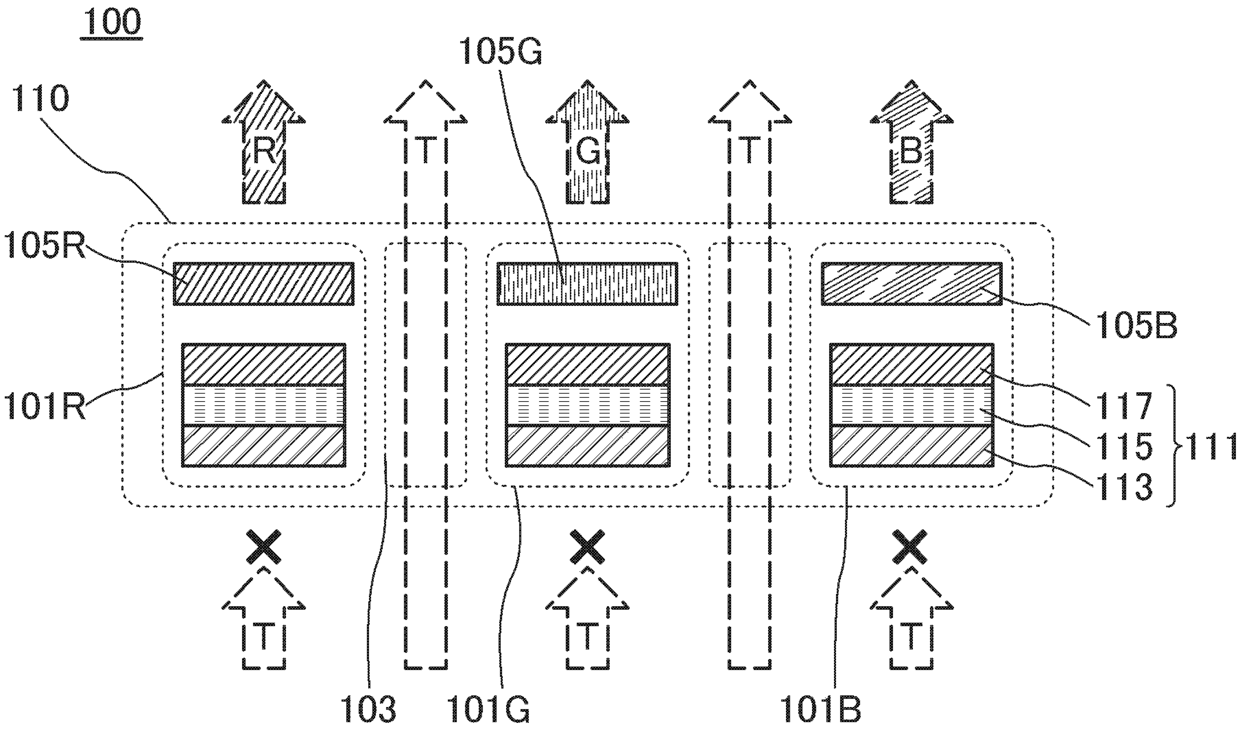
显示装置及包括其的电子设备
授权日
1900-01-01
公开(公告)号
CN107452776A
申请日
2012-10-25
公开(公告)日
2017-12-08
当前申请(专利权)人
株式会社半导体能源研究所
发明人
山崎舜平
简单同族
CN103094307A | CN103094307B | CN107452776A | JP2013117719A | JP2013117719A5 | JP2017228538A | JP6193552B2 | JP6496365B2 | KR1020130049727A | TW201332097A | TW201810648A | TWI624940B | TWI627745B | US20130113843A1 | US20170271415A1 | US9721998
简单同族成员数量
16
简单同族被引用专利总数
71
诉讼案件数
0
法律状态/事件
实质审查
抱歉,您的浏览器不支持PDF预览,请点击链接下载PDF文件