专利数据库
统计分析
产业报告
专利数据监控
产业人才
行业动态
产业政策法规
维权援助
个人中心
详情
文本
图像
标题
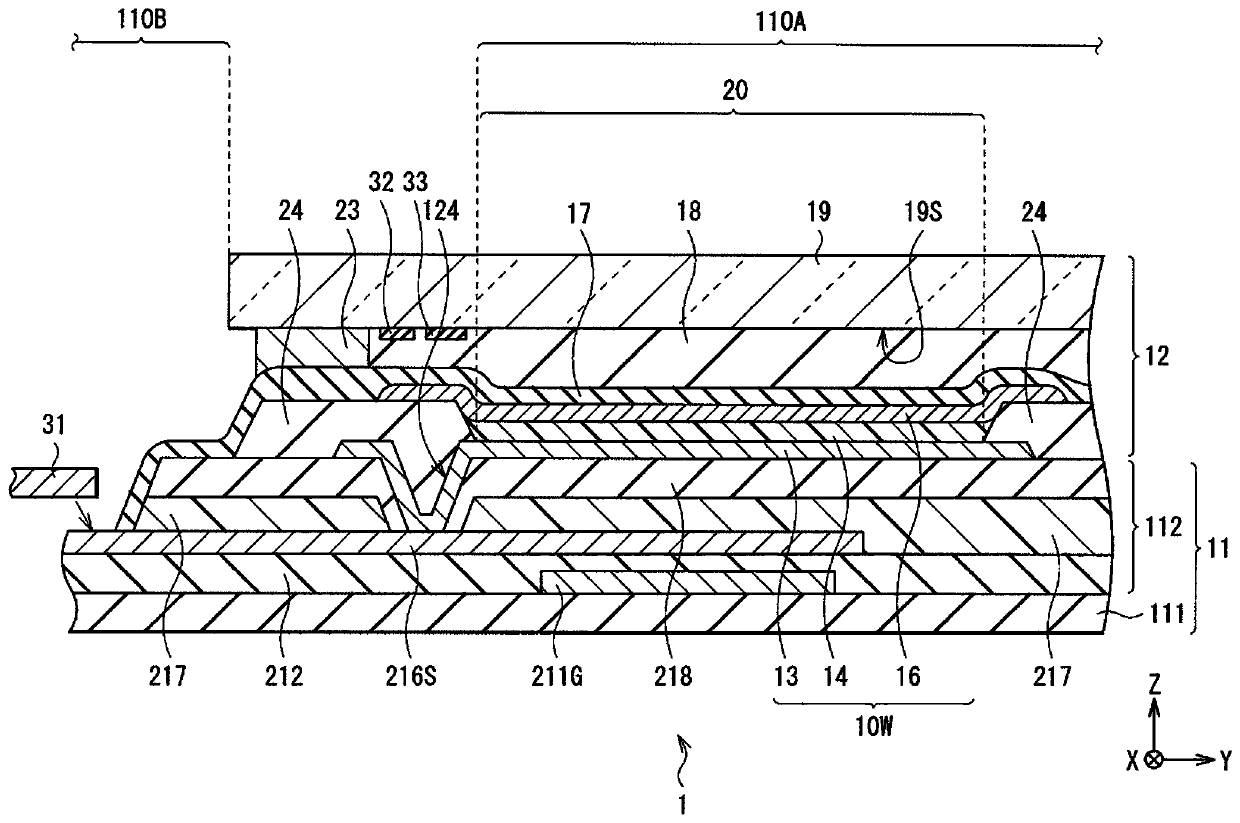
显示装置和电子设备
授权日
2019-12-06
公开(公告)号
CN108899338B
申请日
2013-07-30
公开(公告)日
2019-12-06
当前申请(专利权)人
株式会社日本有机雷特显示器
发明人
齐藤高寿 | 和泉健一 | 寺口晋一 | 中平忠克 | 横关弥树博 | 西正太 | 古立学
简单同族
CN104471736A | CN104471736B | CN108899338A | CN108899338B | EP2880700A2 | JP2014044793A | JP2014044793A5 | JP6142151B2 | KR101933266B1 | KR1020150040270A | KR1020190000364A | TW201405804A | TWI580028B | US10305065 | US10476031 | US20150207100A1 | US20180083223A1 | US20190221772A1 | US20200013988A1 | US9865839 | WO2014020899A2 | WO2014020899A3
简单同族成员数量
22
简单同族被引用专利总数
50
诉讼案件数
0
法律状态/事件
授权
抱歉,您的浏览器不支持PDF预览,请点击链接下载PDF文件