专利数据库
统计分析
产业报告
专利数据监控
产业人才
行业动态
产业政策法规
维权援助
个人中心
详情
文本
图像
标题
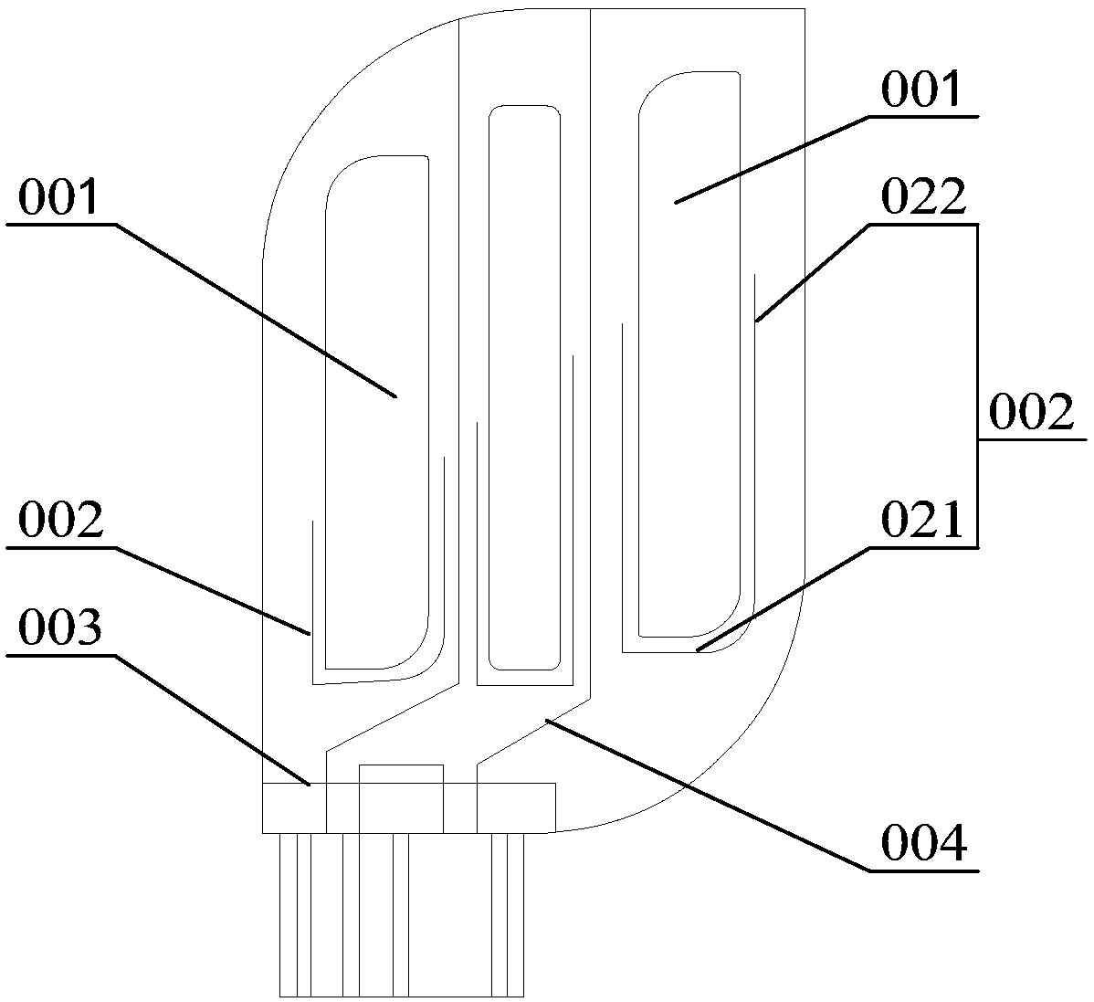
OLED屏体器件、车灯、以及OLED屏体器件中分流单元的制造方法
授权日
1900-01-01
公开(公告)号
CN109037466A
申请日
2018-08-08
公开(公告)日
2018-12-18
当前申请(专利权)人
华域视觉科技(上海)有限公司
发明人
李佳颖
简单同族
CN109037466A | CN109037466B
简单同族成员数量
2
简单同族被引用专利总数
0
诉讼案件数
0
法律状态/事件
授权
抱歉,您的浏览器不支持PDF预览,请点击链接下载PDF文件