专利数据库
统计分析
产业报告
专利数据监控
产业人才
行业动态
产业政策法规
维权援助
个人中心
详情
文本
图像
标题
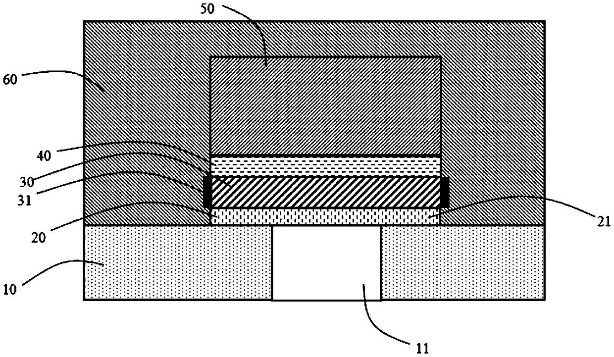
硅基微显示屏
授权日
2020-02-18
公开(公告)号
CN210092088U
申请日
2019-08-07
公开(公告)日
2020-02-18
当前申请(专利权)人
昆山梦显电子科技有限公司
发明人
杜晓松 | 杨小龙 | 周文斌 | 张峰 | 孙剑 | 高裕弟
简单同族
CN210092088U
简单同族成员数量
1
简单同族被引用专利总数
0
诉讼案件数
0
法律状态/事件
授权
抱歉,您的浏览器不支持PDF预览,请点击链接下载PDF文件