专利数据库
统计分析
产业报告
专利数据监控
产业人才
行业动态
产业政策法规
维权援助
个人中心
详情
文本
图像
标题
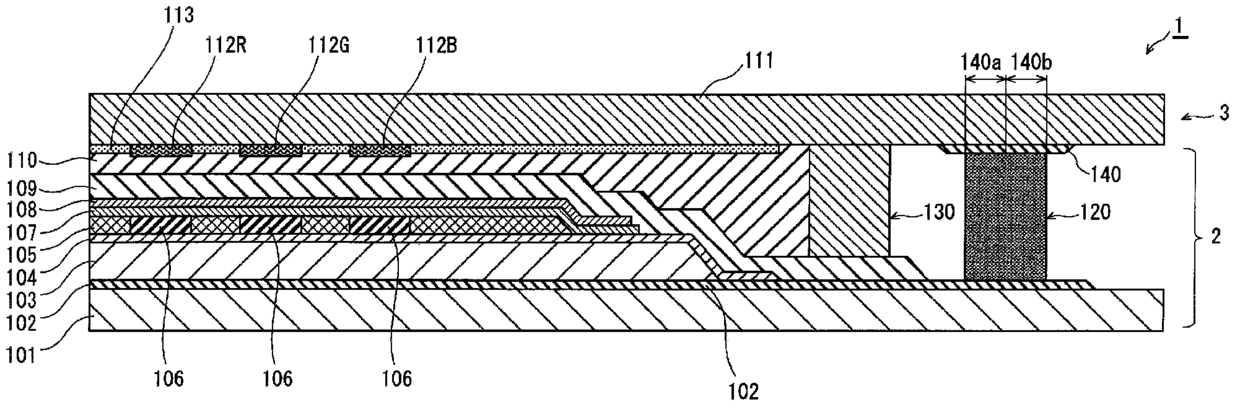
显示面板及其制造方法
授权日
2015-09-02
公开(公告)号
CN102754524B
申请日
2011-07-19
公开(公告)日
2015-09-02
当前申请(专利权)人
株式会社日本有机雷特显示器
发明人
增田裕之
简单同族
CN102754524A | CN102754524B | JP5620492B2 | JPWO2012011268A1 | KR101401177B1 | KR1020120105537A | US20120287026A1 | US8884849 | WO2012011268A1
简单同族成员数量
9
简单同族被引用专利总数
115
诉讼案件数
0
法律状态/事件
授权 | 权利转移
抱歉,您的浏览器不支持PDF预览,请点击链接下载PDF文件