专利数据库
统计分析
产业报告
专利数据监控
产业人才
行业动态
产业政策法规
维权援助
个人中心
详情
文本
图像
标题
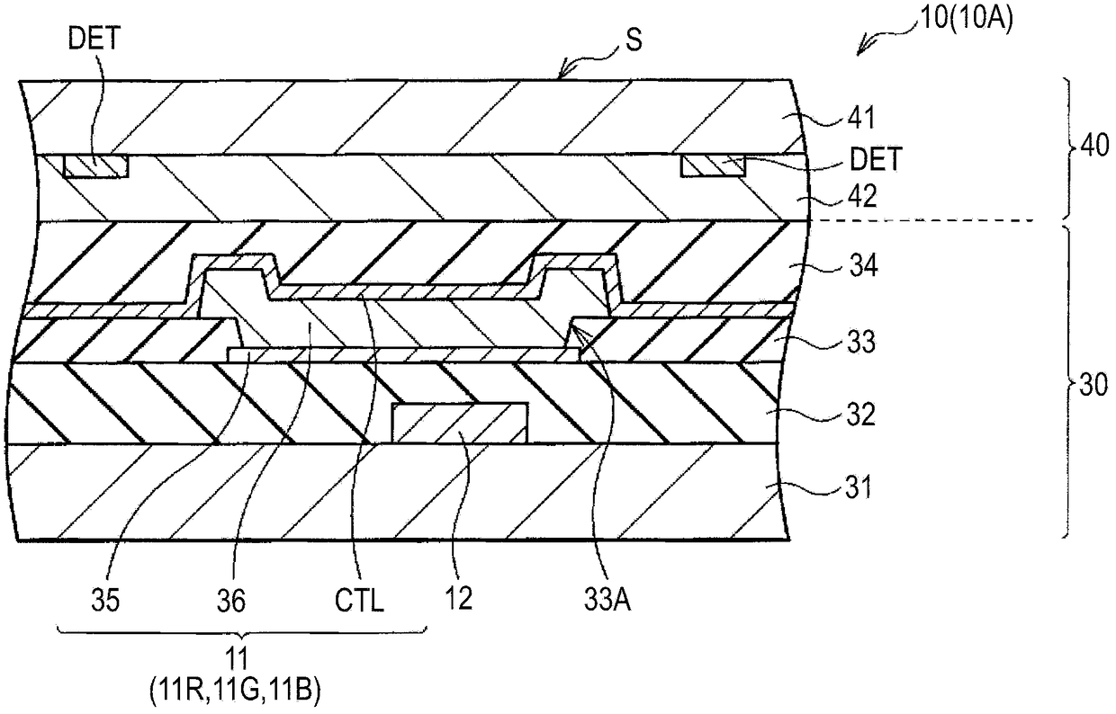
显示面板、显示装置和电子设备
授权日
1900-01-01
公开(公告)号
CN102738198A
申请日
2012-03-22
公开(公告)日
2012-10-17
当前申请(专利权)人
株式会社日本有机雷特显示器
发明人
尾本启介
简单同族
CN102738198A | CN102738198B | JP2012208263A | JP2012208263A5 | JP5778961B2 | US20120249401A1 | US9495031
简单同族成员数量
7
简单同族被引用专利总数
60
诉讼案件数
0
法律状态/事件
授权 | 权利转移
抱歉,您的浏览器不支持PDF预览,请点击链接下载PDF文件