专利数据库
统计分析
产业报告
专利数据监控
产业人才
行业动态
产业政策法规
维权援助
个人中心
详情
文本
图像
标题
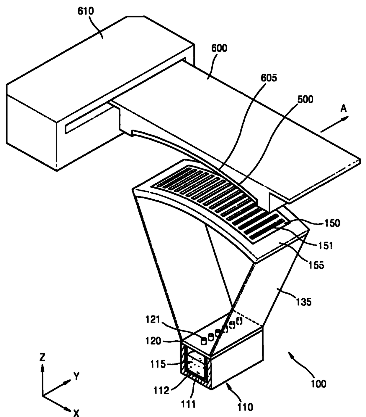
有机层沉积设备和使用其制造有机发光显示装置的方法
授权日
1900-01-01
公开(公告)号
CN102456852A
申请日
2011-10-21
公开(公告)日
2012-05-16
当前申请(专利权)人
三星显示有限公司
发明人
瓦列里·布鲁辛斯奇 | 林·卡普兰 | 郑世呼 | 玄元植 | 罗兴烈 | 朴庆太 | 郑炳成 | 崔镕燮
简单同族
CN102456852A | CN102456852B | JP2012092448A | JP5882668B2 | KR101730498B1 | KR1020120042153A | US20120100644A1 | US8461058
简单同族成员数量
8
简单同族被引用专利总数
48
诉讼案件数
0
法律状态/事件
授权 | 权利转移
抱歉,您的浏览器不支持PDF预览,请点击链接下载PDF文件