专利数据库
统计分析
产业报告
专利数据监控
产业人才
行业动态
产业政策法规
维权援助
个人中心
详情
文本
图像
标题
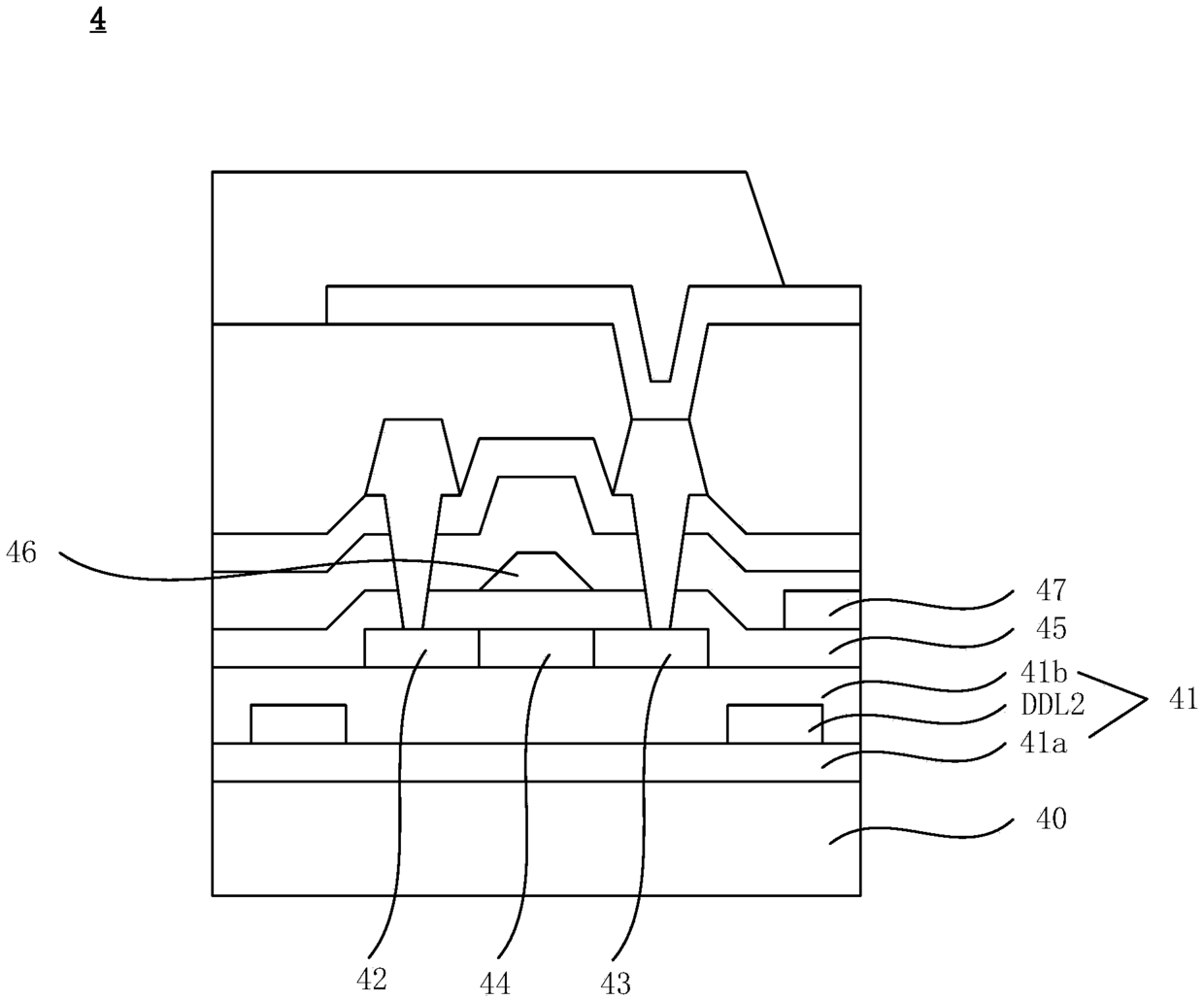
OLED显示器
授权日
2016-05-11
公开(公告)号
CN205231069U
申请日
2015-12-30
公开(公告)日
2016-05-11
当前申请(专利权)人
昆山国显光电有限公司
发明人
王龙 | 陈心全 | 朱修剑 | 葛明伟
简单同族
CN205231069U
简单同族成员数量
1
简单同族被引用专利总数
0
诉讼案件数
0
法律状态/事件
授权
抱歉,您的浏览器不支持PDF预览,请点击链接下载PDF文件