专利数据库
统计分析
产业报告
专利数据监控
产业人才
行业动态
产业政策法规
维权援助
个人中心
详情
文本
图像
标题
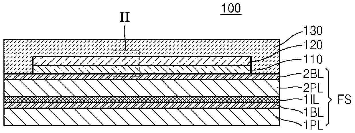
有机发光二极管显示器、包括其的电子装置及其制造方法
授权日
1900-01-01
公开(公告)号
CN110600633A
申请日
2014-04-09
公开(公告)日
2019-12-20
当前申请(专利权)人
三星显示有限公司
发明人
朴容焕 | 李在燮 | 姜振圭 | 裴晟植 | 安成国 | 曹奎哲 | 许俊
简单同族
CN104167424A | CN104167424B | CN110600633A | CN110649071A | CN110649072A | CN110649175A | CN203910803U | EP2804231A2 | EP2804231A3 | KR1020140135565A | KR102104608B1 | TW201445732A | TWI627742B | US20140339517A1 | US9419243
简单同族成员数量
15
简单同族被引用专利总数
51
诉讼案件数
0
法律状态/事件
撤回
抱歉,您的浏览器不支持PDF预览,请点击链接下载PDF文件