专利数据库
统计分析
产业报告
专利数据监控
产业人才
行业动态
产业政策法规
维权援助
个人中心
详情
文本
图像
标题
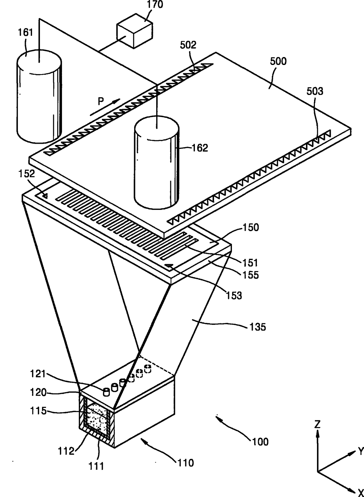
薄膜沉积设备及制造有机发光显示装置的方法
授权日
1900-01-01
公开(公告)号
CN102332539A
申请日
2011-07-12
公开(公告)日
2012-01-25
当前申请(专利权)人
三星显示有限公司
发明人
柳在光 | 曹昌睦 | 康熙哲
简单同族
CN102332539A | CN102332539B | JP2012023026A | JP5847437B2 | KR101182448B1 | KR1020120006324A | TW201216456A | US20120009328A1
简单同族成员数量
8
简单同族被引用专利总数
57
诉讼案件数
0
法律状态/事件
授权 | 权利转移
抱歉,您的浏览器不支持PDF预览,请点击链接下载PDF文件