专利数据库
统计分析
产业报告
专利数据监控
产业人才
行业动态
产业政策法规
维权援助
个人中心
详情
文本
图像
标题
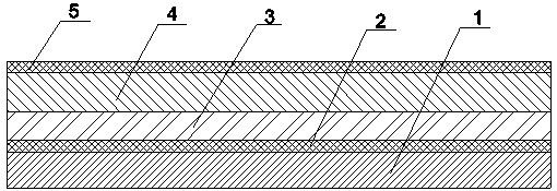
一种电致发光显示器件及其制备方法
授权日
1900-01-01
公开(公告)号
CN105742518A
申请日
2016-02-23
公开(公告)日
2016-07-06
当前申请(专利权)人
济南大学
发明人
杨萍 | 陈玲 | 车全德
简单同族
CN105742518A | CN105742518B
简单同族成员数量
2
简单同族被引用专利总数
0
诉讼案件数
0
法律状态/事件
授权
抱歉,您的浏览器不支持PDF预览,请点击链接下载PDF文件