专利数据库
统计分析
产业报告
专利数据监控
产业人才
行业动态
产业政策法规
维权援助
个人中心
详情
文本
图像
标题
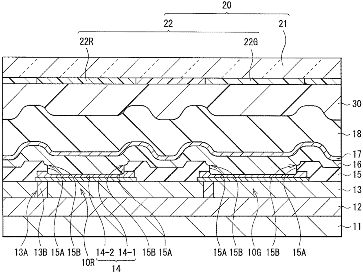
有机发光器件和包括有机发光器件的显示单元
授权日
2016-08-24
公开(公告)号
CN102738406B
申请日
2012-03-23
公开(公告)日
2016-08-24
当前申请(专利权)人
索尼公司
发明人
横山诚一 | 槙田笃哉 | 长谷川英史 | 山田二郎 | 白井裕久 | 古贺康孝 | 云雀野信介
简单同族
CN102738406A | CN102738406B | CN105590956A | JP2012216495A | JP2012216495A5 | JP5919807B2 | US20120248467A1 | US20150069375A1 | US8963170 | US9190460
简单同族成员数量
10
简单同族被引用专利总数
51
诉讼案件数
0
法律状态/事件
授权
抱歉,您的浏览器不支持PDF预览,请点击链接下载PDF文件