专利数据库
统计分析
产业报告
专利数据监控
产业人才
行业动态
产业政策法规
维权援助
个人中心
详情
文本
图像
标题
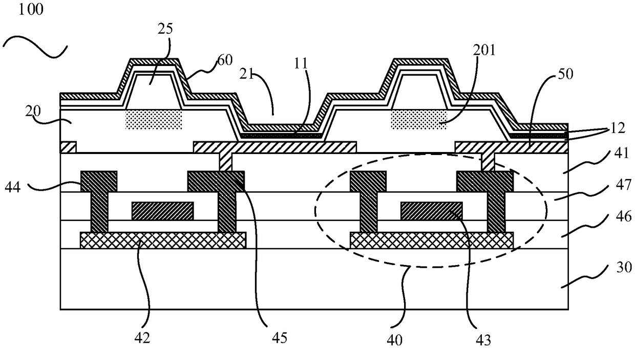
显示面板、显示装置及显示面板的制造方法
授权日
1900-01-01
公开(公告)号
CN109192757A
申请日
2018-08-20
公开(公告)日
2019-01-11
当前申请(专利权)人
云谷(固安)科技有限公司
发明人
张豪峰
简单同族
CN109192757A
简单同族成员数量
1
简单同族被引用专利总数
0
诉讼案件数
0
法律状态/事件
实质审查
抱歉,您的浏览器不支持PDF预览,请点击链接下载PDF文件