专利数据库
统计分析
产业报告
专利数据监控
产业人才
行业动态
产业政策法规
维权援助
个人中心
详情
文本
图像
标题
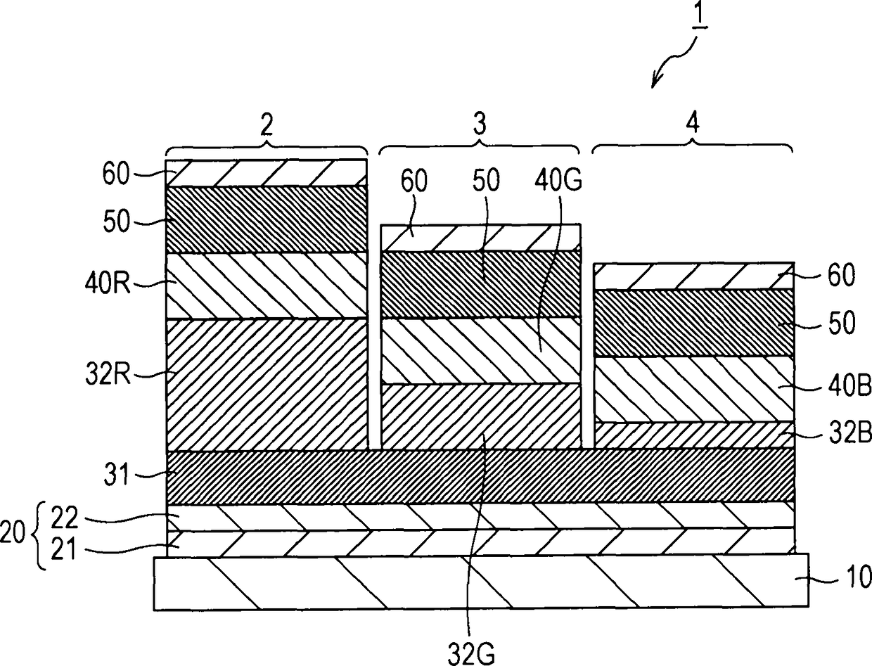
显示设备
授权日
1900-01-01
公开(公告)号
CN102270655A
申请日
2011-05-31
公开(公告)日
2011-12-07
当前申请(专利权)人
佳能株式会社
发明人
梶本典史
简单同族
CN102270655A | CN102270655B | JP2012015097A | JP5783780B2 | KR101363960B1 | KR1020110132980A | US20110297977A1 | US8319231
简单同族成员数量
8
简单同族被引用专利总数
50
诉讼案件数
0
法律状态/事件
授权
抱歉,您的浏览器不支持PDF预览,请点击链接下载PDF文件