专利数据库
统计分析
产业报告
专利数据监控
产业人才
行业动态
产业政策法规
维权援助
个人中心
详情
文本
图像
标题
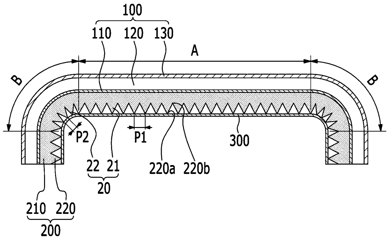
有机发光二极管显示器及其制造方法
授权日
2018-10-19
公开(公告)号
CN104183620B
申请日
2014-05-21
公开(公告)日
2018-10-19
当前申请(专利权)人
三星显示有限公司
发明人
郑哲宇 | 朴顺龙 | 苏正镐 | 白硕基 | 金光赫 | 严廷镕
简单同族
CN104183620A | CN104183620B | CN109256412A | EP2806475A2 | EP2806475A3 | EP2806475B1 | US10038161 | US20140346474A1 | US20160087229A1 | US20170207412A1 | US9203050 | US9614167
简单同族成员数量
12
简单同族被引用专利总数
52
诉讼案件数
0
法律状态/事件
授权
抱歉,您的浏览器不支持PDF预览,请点击链接下载PDF文件