专利数据库
统计分析
产业报告
专利数据监控
产业人才
行业动态
产业政策法规
维权援助
个人中心
详情
文本
图像
标题
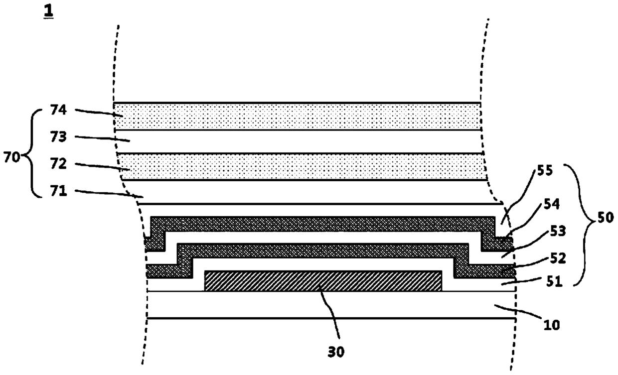
显示装置和制造它的方法
授权日
1900-01-01
公开(公告)号
CN103794734A
申请日
2013-10-25
公开(公告)日
2014-05-14
当前申请(专利权)人
三星显示有限公司
发明人
曺尚焕 | 全震焕 | 金秀燕 | 朴相炫 | 赵尹衡 | 宋昇勇
简单同族
CN103794734A | CN103794734B | JP2014086415A | JP6274764B2 | KR101951223B1 | KR1020140056498A | TW201421670A | TWI624048B | US20140117330A1 | US9048459
简单同族成员数量
10
简单同族被引用专利总数
54
诉讼案件数
0
法律状态/事件
授权
抱歉,您的浏览器不支持PDF预览,请点击链接下载PDF文件