专利数据库
统计分析
产业报告
专利数据监控
产业人才
行业动态
产业政策法规
维权援助
个人中心
详情
文本
图像
标题
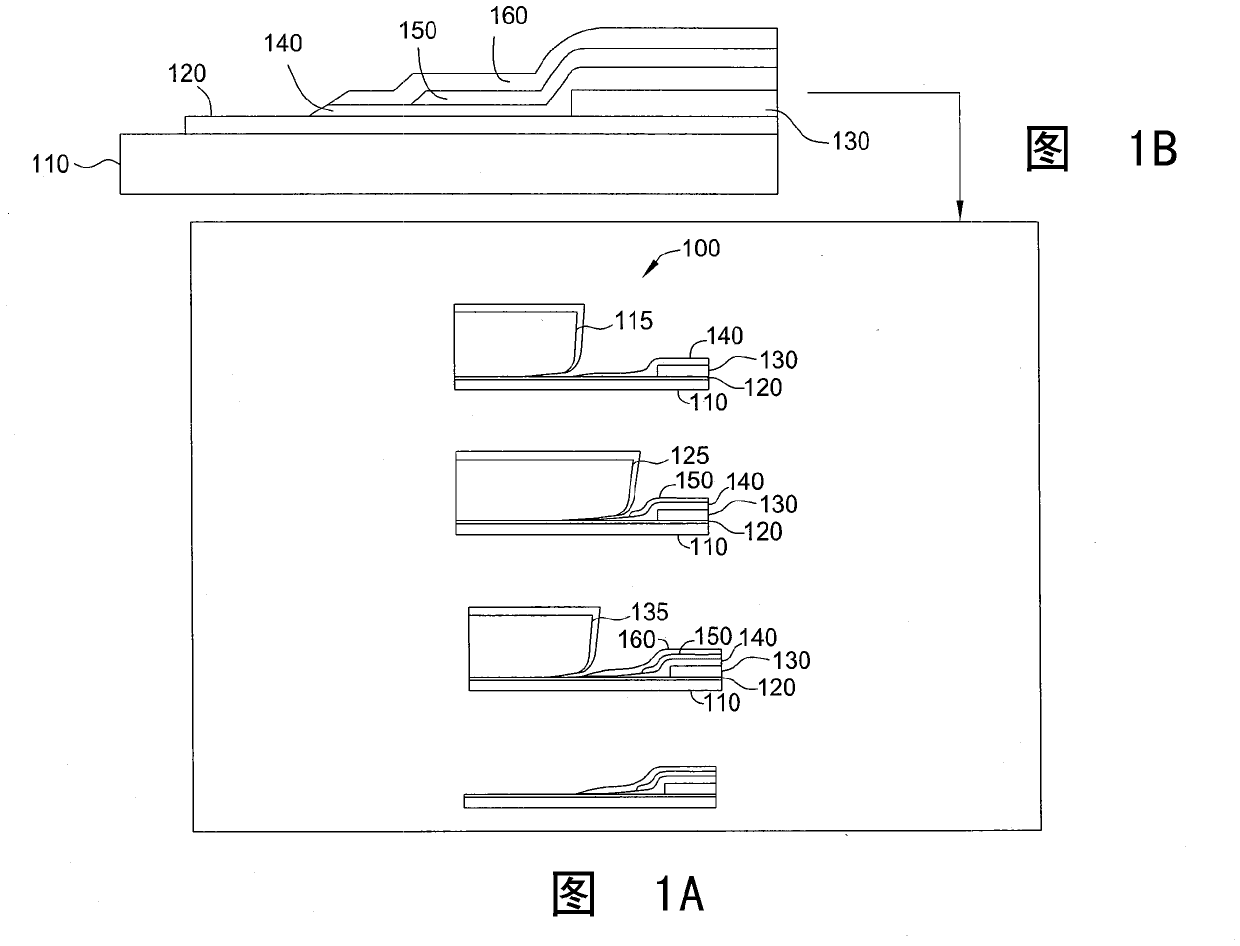
用于OLED封装的屏蔽管理系统和方法
授权日
2019-10-15
公开(公告)号
CN103703584B
申请日
2012-06-18
公开(公告)日
2019-10-15
当前申请(专利权)人
应用材料公司
发明人
栗田真一 | B·S·金
简单同族
CN103597625A | CN103597625B | CN103703584A | CN103703584B | JP2014520371A | JP2019091704A | JP3195992U | JP6642936B2 | JP6728412B2 | KR101949416B1 | KR1020140045447A | KR1020190016603A | KR102072127B1 | KR200484209Y1 | KR2020140002019U | TW201303075A | TWI542727B | US20140170785A1 | US9076991 | WO2012173692A1 | WO2012174550A2 | WO2012174550A3
简单同族成员数量
22
简单同族被引用专利总数
57
诉讼案件数
0
法律状态/事件
授权 | 复审
抱歉,您的浏览器不支持PDF预览,请点击链接下载PDF文件