专利数据库
统计分析
产业报告
专利数据监控
产业人才
行业动态
产业政策法规
维权援助
个人中心
详情
文本
图像
标题
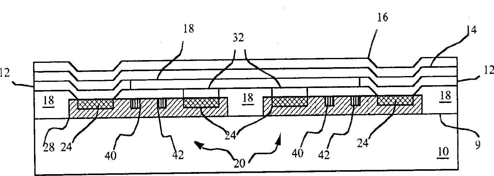
具有光学通信小芯片的电致发光显示器件
授权日
1900-01-01
公开(公告)号
CN103460275A
申请日
2011-03-30
公开(公告)日
2013-12-18
当前申请(专利权)人
全球OLED科技有限责任公司
发明人
克里斯多佛·J·怀特 | R·S·库克 | J·W·哈默 | A·阿诺德
简单同族
CN103460275A | CN103460275B | EP2676260A1 | JP2014511502A | KR1020140008376A | TW201236001A | TWI450248B | US20120212465A1 | US8587501 | WO2012112172A1
简单同族成员数量
10
简单同族被引用专利总数
46
诉讼案件数
0
法律状态/事件
授权
抱歉,您的浏览器不支持PDF预览,请点击链接下载PDF文件