专利数据库
统计分析
产业报告
专利数据监控
产业人才
行业动态
产业政策法规
维权援助
个人中心
详情
文本
图像
标题
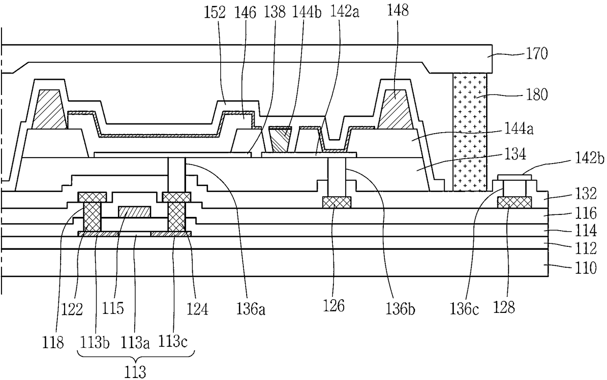
有机发光显示装置及其制造方法
授权日
1900-01-01
公开(公告)号
CN103066212A
申请日
2012-08-31
公开(公告)日
2013-04-24
当前申请(专利权)人
乐金显示有限公司
发明人
李晙硕 | 金世埈 | 柳俊锡
简单同族
CN103066212A | CN103066212B | DE102012107977A1 | DE102012107977A8 | KR101961190B1 | KR1020130025806A | US20130056784A1
简单同族成员数量
7
简单同族被引用专利总数
107
诉讼案件数
0
法律状态/事件
授权
抱歉,您的浏览器不支持PDF预览,请点击链接下载PDF文件