专利数据库
统计分析
产业报告
专利数据监控
产业人才
行业动态
产业政策法规
维权援助
个人中心
详情
文本
图像
标题
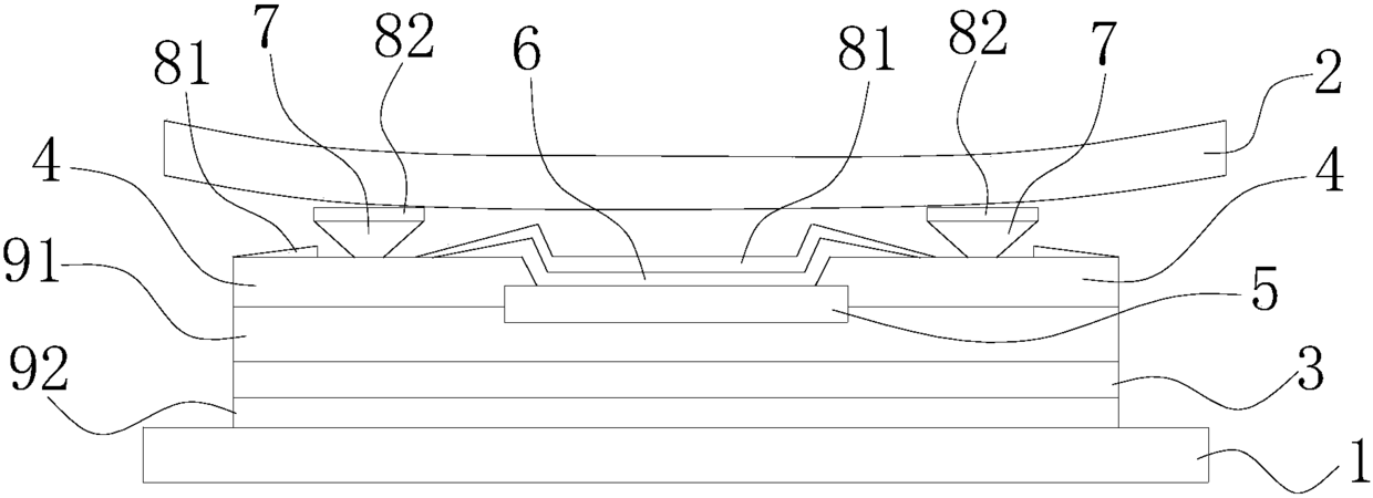
一种有机发光二极管显示器件及其制造方法
授权日
1900-01-01
公开(公告)号
CN107180920A
申请日
2016-03-11
公开(公告)日
2017-09-19
当前申请(专利权)人
上海和辉光电有限公司
发明人
叶雪妮 | 何信儒
简单同族
CN107180920A
简单同族成员数量
1
简单同族被引用专利总数
0
诉讼案件数
0
法律状态/事件
驳回
抱歉,您的浏览器不支持PDF预览,请点击链接下载PDF文件