专利数据库
统计分析
产业报告
专利数据监控
产业人才
行业动态
产业政策法规
维权援助
个人中心
详情
文本
图像
标题
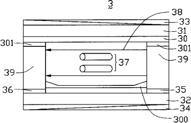
有源矩阵型液晶显示器
授权日
2005-10-19
公开(公告)号
CN2735376Y
申请日
2004-08-31
公开(公告)日
2005-10-19
当前申请(专利权)人
鸿富锦精密工业(深圳)有限公司 | 群创光电股份有限公司
发明人
谢朝桦 | 彭家鹏 | 陈鹊如
简单同族
CN2735376Y
简单同族成员数量
1
简单同族被引用专利总数
0
诉讼案件数
0
法律状态/事件
期限届满
抱歉,您的浏览器不支持PDF预览,请点击链接下载PDF文件